Hydraulic Couplers
IRB I IRBO I IRBX Series
Hydraulic Couplers
IRB I IRBO I IRBX Series
Product Overview
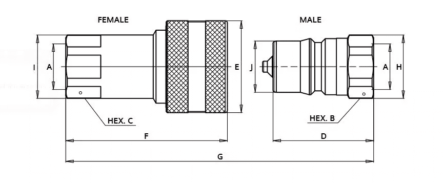
The IRB Series Quick Couplings are interchangeable to ISO B standard (ISO 7241-B). The IRB is offered in three different high quality materials to meet different application challenges—IRB carbon steel with Nitrile seals, IRBO brass with Viton seals, and IRBX 316 stainless steel with Viton seals. The entire series features compact design, AISI 302 stainless steel springs, and PTFE anti-extrusion rings.
- Size range: 1/4” thru 1”
- Port options: NPT, BSP
- Interchanges with ISO B, Parker 60, Aeroquip FD45, Faster HNV
- IRB working pressure: 18-35 MPa/4000-5075 psi range
- IRBO working pressure: 10-20 MPa/1450-2900 psi range
- IRBX working pressure: 12.5-25 MPa/1813-3625 psi range
- Anywhere a compact size and high quality material are required
- Industrial process applications, agricultural equipment, oil & gas industry


More products that you might be interested
More of Hydraulic Couplers
Got a question?
We’re here to help you pick out the best tool that suits your unique needs.
CONTACT US